摘要:三态内容可寻址存储器(TCAM)是网络架构中的重要组件之一,用于高速搜索应用。目前基于FPGA实现的TCAM多基于单一类型存储资源,消耗的存储资源量较大,且在实际应用中TCAM的搜索字多样化,易造成存储资源冗余。针对此问题,提出一种综合利用FPGA中BIock RAM(BRAM)与查找表RAM(LUTRAM)来优化对搜索字划分的方法。通过灵活组合BRAM和LUTRAM,实现更加接近甚至贴合搜索字位数的优化型复合TCAM(OC-TCAM),从而降低存储资源用量,并将该设计应用于网络数据包的过滤与加密系统中。实验结果表明,所提方法相较于目前领先的基于BRAM的TCAM,存储资源用量减少了 39.1% ,相比于领先的基于FPGA的复合TCAM,单位面积的性能提升了 20.28% 。
摘要:升压型功率因数校正(BostPFC)变换器在中轻载运行时存在电感电流的断续导通模式,在使用无模型电流控制器的过程中,因代数估计器存在滞后性,致使电流控制器无法精确地追踪呈动态变化的电流参考值,最终导致输入电流波形出现畸变以及相位偏移的情况。为了提升输入电流波形的质量,基于超局部模型并结合同步旋转坐标系,建立了基于旋转坐标变化的无模型电流控制器,以生成合适的占空比信号并提高对电感电流的跟踪精度。搭建相应的仿真与实验环境,验证所提控制方法的合理性以及有效性,同时印证相关理论分析的正确性。实验结果表明,所提控制方法有效地提升了对参考电流的跟踪精度,减少了变换器系统的电流谐波,避免了额外的硬件检测电路。
摘要:为实现快速、低检测限的水污染检测,基于拉曼散射原理设计一种拉曼光谱数据实时采集系统。结合CMOS探测器设计了光谱数据采集模块,并配套开发了FPGA主控模块。为了更加灵活地调节系统参数,如光谱积分时间等,采用上位机进行顶层控制,具体是通过在FPGA和上位机间设计UART通信协议,在FPGA主控模块中设计对应地址单元等实现的。设计出的拉曼光谱数据实时采集系统在5s内即可得到拉曼光谱,针对常见水污染物,如多环芳烃(茶)等可达到 244mg/L 的检测限。所设计系统可应用于日常水质检测、水污染应急检测等多种水污染检测场景,并对水污染检测提供有力技术支持。
摘要:在现代电力电子技术中,IGBT模块因其优异的开关特性而被广泛应用于各种高功率场合。为确保IGBT模块的可靠性和稳定性,IGBT出厂前需要进行一系列检测,其中包括动态测试。然而,不同生产厂家所生产的IGBT产品及其特性均有差异。为此,IGBT动态测试设备需要一种适应性强、能够提供有效驱动与保护的驱动电路。文中设计一种新型驱动电路,旨在满足测试设备对多样化IGBT模块测试的需求,确保测试过程的安全性和测试结果的准确性。该电路具有栅极电阻调节、驱动电压调节和多采集通道等特点,能够灵活应对不同的测试条件。通过集成的欠压和过压保护机制能够有效地监测驱动电压,提高电路的可靠性。在460V母线电压和650A保护电流的实验条件下,验证了电路在IGBT模块测试中的有效性,提升了IGBT动态测试设备在高功率应用中的性能和稳定性。
摘要:多端柔性直流输电(VSC-MTDC)已成为大规模新能源输出的有效措施,但随着可再生能源渗透率的提高,电网整体惯性降低。传统比例积分微分(PID)控制在负荷扰动较大的情况下调节时间较长,波动幅度较大。而自抗扰控制器(ADRC)具有对时变和不确定扰动的适应性,因此提出将自抗扰应用到柔性直流输电系统中,并通过粒子群优化(PSO)算法对参数进行整定,利用改进自抗扰附加频率控制对VSC-MTDC系统进行二次调频。最后,在Simulink平台上建立四端柔性直流控制系统模型,在换流站对因故障退出运行和交流系统负荷突变两种情况进行仿真。结果表明,所设计的ADRC附加频率控制相比传统PID附加频率控制响应速度快、适应能力强、超调小。
摘要:为了提高PI控制器的控制精度,提出一种基于蜣螂优化(DBO)算法的PI双闭环SPWM逆变器控制方法。通过模拟蜣螂的自然觅食行为,DBO算法能够有效地在参数空间进行全局探索和局部细化,其自适应的搜索策略和快速收敛特性使其在寻找最优PI控制器参数时表现出高效性和准确性。通过在Matlab/Simulink中建立仿真模型并与PSO和MFO两个优化算法比较,结果表明,利用DBO优化的PI参数在双闭环逆变器的控制系统中具有更低的THD值和更好的稳定性能。
摘要:在多路数字音频信号采集时,每个通道都需要独立的模数转换器和信号处理电路,硬件的功耗也随之增加。针对该问题,提出一种基于压缩感知的多路数字音频信号低功耗采集方法。该方法主要设计一个多路数字音频信号采集装置,此装置接收差分电压信号,经过多路音频信号调理单元的运算放大器进行放大后,传输至使用低功耗逐次逼近寄存器型模数转换器(SARADC)的多路数字信号采集单元,转换为数字音频信号。同时,设计多路数字音频信号并行压缩感知模型,对多路数字音频信号进行压缩,再传输至中央控制单元,信号经以太网芯片封装后上传至上位机。上位机利用多路数字音频信号并行压缩感知模型中逆压缩感知算法,将接收到的压缩信号恢复为高质量的原始音频信号,从而实现基于低采样率的低功耗信号采集。结果表明,所提方法在采集多路音乐数字音频信号时,功耗能够保持在较低水平,均值仅为 0.42mW ,与其他方法相比功耗更低。
摘要:针对当前钢材表面缺陷检测算法存在的检测精度低和小目标检测困难等问题,提出一种基于YOLOv7-tiny的改进算法。首先,提出高效动态蛇形层聚网络(DSELAN),并将其嵌入到特征提取网络中,以提高模型对复杂缺陷目标关键特征的提取能力;其次,引入SPDConv作为下采样模块,避免小目标细粒度信息的丢失,有效解决了小目标检测困难的问题;最后,针对大目标缺陷检测效率低的问题,增加一个大目标检测层以扩大模型的感受野,提高对大目标缺陷的检测精度。实验结果表明:改进后的YOLOv7-tiny算法在NEU-DET数据集上的平均精度均值 (mAP) 达到了 81.4% ,比原算法提高了 6.7% ,检测性能优于其他主流检测算法;并且具有较少的参数量和较快的检测速度,可满足工业钢材表面缺陷检测的实时性和高效性要求。
摘要:不良驾驶行为的复杂化趋势会对道路交通安全构成严重威胁。为挖掘不良驾驶行为的潜在规律,文章通过车载诊断系统(OBD)采集哈尔滨乘用车早晚高峰时段的行驶数据,利用Python数据处理平台识别超速、急变速、急转弯及快速变道共4种不良驾驶行为。基于行为数据集,提出一种改进的Apriori关联规则挖掘算法。引入粒子群优化(PSO)算法优化Apriori算法中的支持度与置信度两个重要参数,并使用哈希映射表提高Apriori算法的运行效率。实验结果表明,改进Apriori算法在两种数据集上的运行时间较传统Apriori算法分别提高 8.26%,9.27% 。关联结果显示,不良驾驶行为并非单独存在,其中急转弯、快速变道、急加速关联性最强,超速行为与急变速次之。该研究能够为驾驶风格量化分析提供参考,可应用于交通事故主动预警系统。
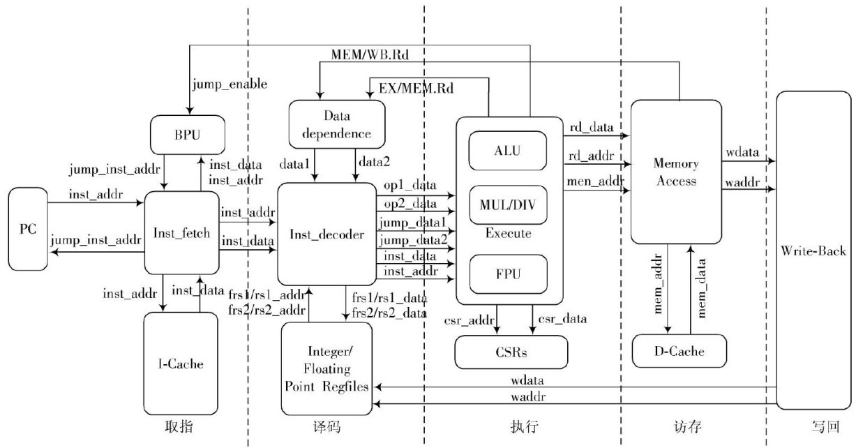
摘要:RISC-V是一种开源指令集架构,其高度可定制化的特性在嵌入式系统领域展现出较强的应用潜力与优势。针对目前嵌入式处理器在视频解码和音频处理等方面对浮点数运算的需求,设计一种包含浮点处理单元(FPU)的片上系统(SoC)。SoC中的CPU是基于RISC-V指令集设计的五级流水线结构,其中包括RV32I基本指令集、M和F扩展指令集,以AXI4-Lite为片内总线并挂载UART、SPI、TIMER等基本外设。在FPGA上对SoC功能进行软硬件协同仿真测试,测试结果显示,CPUCoreMark跑分结果为3.31CoreMark/MHz,并能完整运行外设程序,实现了完整的SoC功能设计。
摘要:在线教育因大众对多样化学习的渴求及技术进步而迅猛发展。分析中国大学MOOC网站上在线评论的情感倾向,对于课程的优化及平台的高质量发展具有重要意义。针对目前文本情感分析任务中存在的难以充分提取和融合文本特征信息、泛化性能不足的问题,提出一种基于注意力机制的深层特征融合MOOC评论情感分析模型,即BERT-RAP。利用BERT提取出文本的丰富语义,通过BiLSTM进一步提取序列信息来更好地捕捉文本的特征表达,同时采用注意力机制捕捉序列中最相关的部分;之后对MOOC评论文本进行关键词提取,并将关键词词嵌入与注意力加权的BiLSTM输出通过亲和力矩阵进行特征交互,以便模型融合不同的特征来挖掘更深层的语义。由于数据可能存在较大离群值,采用百分比池化方法在一定程度上降低模型对离群值的敏感程度,从而提高模型的鲁棒性。最后通过情感分类器获得文本所属情感。实验结果表明,在MOOC评论数据集上,与文本情感分析基线模型相比,所提模型情感分类效果更佳。
摘要:在医学和社交领域,命名实体识别(NER)对信息抽取和自然语言处理至关重要,但传统方法依赖大量手工标注数据,耗时且难以广泛适用。为此,提出一种Semi-FFMA模型,该模型设计前馈-注意力机制来有效融合Fastext、HMM和BERT-WWM的语义特征,结合BiLSTM和多头注意力机制,提高了NER准确性。同时,该模型引入半监督学习和伪标签技术,充分利用未标注数据来降低标注成本。通过在CCKS2017和Weibo数据集上的实验结果证明,Semi-FFMA模型成功解决了传统命名实体识别中手工标注繁琐且费时的问题,并且在CCKS2017上 F1 值达到了 92.34% ,在Weibo上达到了 71.57% ,展现出了卓越的性能。
摘要:交通流数据中异常数据波动作为噪声,会对模型训练收敛以及预测精度产生不利影响。为解决该问题,引入两种不同阈值函数的小波阈值去噪方法对交通流数据进行降噪处理,将小波阈值去噪(WD)、鲸鱼优化算法(WOA)和双向长短期记忆网络(Bi-LSTM)相结合,提出一种WD-WOA-Bi-LSTM方法。首先,将两种方法降噪后的交通流数据进行对比,并将降噪效果更好的数据进行归一化处理、数据集划分以及数据维度转换;然后,通过WOA对Bi-LSTM部分超参数进行寻优,迭代至最优适应度的超参数组合,并用于构建Bi-LSTM;最后,应用英格兰公路交通流数据验证所提模型。结果表明:WD-WOA-Bi-LSTM方法相较WOA-Bi-LSTM和WD-Bi-LSTM,RMSE降低 12.5004% 和 3.9789% ;MAE降低 21.735 0% 和 4.7225% :MAPE降低 38.5647% 和 10.8652% 。该模型相比其他模型评价指标均为最低,具有较高的预测精度,可以为高精度的短时交通流预测提供参考。
摘要:传统的K-means聚类算法在实现数据匿名化过程中,存在高维数据处理效率低下、敏感属性保护不足以及信息丢失较大的问题。为此,基于K-means聚类算法和Mondrian算法,提出一种多层聚类的自适应扰动匿名化算法(APMCA)。该算法结合区块映射与交叉选代自适应扰动策略对数据集进行多粒度分区,增强数据划分的适应能力,确保敏感属性在分区内均匀分布,从而在细粒度层面提升隐私保护效果,降低重识别风险。实验结果表明,所提方法能有效进行数据匿名化并提升运行效率,可以满足复杂数据场景的匿名化需求。
摘要:风剪切、塔影、偏航误差和风湍流等因素会导致风轮扫风面内的风速分布不均匀。为了减小风力发电机在高风速区的叶轮不平衡载荷并维持风机输出功率的稳定,以美国可再生能源实验室提供的5MW陆上风机为对象,提出一种基于MIMO无模型自适应控制(MFAC)的独立变桨距控制策略。由ROSCO控制器得到统一变桨距角,再将叶根转矩反馈给改进的MIMO无模型自适应控制器,得到叶根转矩影响下的各桨距角的微调量,并对风机的桨距角进行修正。通过OPENFAST和Simulink的平台联合仿真,将改进的MFAC变桨距控制与统一变桨距控制、独立变桨距控制、MFAC控制进行对比分析。结果表明,改进的控制策略能有效降低风机桨叶的叶根载荷和受到的疲劳载荷,且减小了风机输出功率的波动。
0 引言 星上信息处理设备正朝着高带宽、强处理能力、集成化和高功耗的趋势发展,信号处理平台越来越多地使用高性能的处理器件,处理资源丰富、主频高、运算处理能力强的同时,相对的单位体积内所发出的热量越来越高,大功耗、高热流密度成为了星上处理设备需要解决的难题。电子元器件性能受温度影响显著,温度的升高将导致功能模块性能急剧降低甚至完全损坏,如半导体器件的温度每升高 10∘C ,其可靠性就会降低 50%
摘要:为解决复杂城市场景下,应用无人机实际飞行测试航路导航性能的方法效率低、结果不具有普遍性的问题,基于卫星仿真工具包(STK),建立一种GPS卫星系统,并完成三维场景构建。利用STK的覆盖分析功能分析无人机航路的卫星可见数和几何精度因子(GDOP)值,以达到评估城市无人机航路导航性能的目的。仿真结果表明,此次实验所规划的无人机航路GPS卫星可见数较多且GDOP值所对应的定位精度均维持在“优”等级,同时,GPS卫星系统在该航线能够提供稳定的导航定位服务。针对同一三维场景,构建不同高度的建筑物,仿真分析了建筑物高度对无人机航线导航性能的影响。所设计系统为城市无人机航路规划提供了可靠的数据支撑,并能提高无人机在城市场景下运行的安全性。
摘要:嵌套的命名实体之间蕴含着丰富的语义关系和复杂的结构信息,传统的序列标记方法通常无法准确识别嵌套实体,即那些嵌套在内部的实体。为解决该问题,提出一种融合汉字结构和边界增强的嵌套命名实体识别模型BCBE-NNER。该模型首先通过循环神经网络来融合汉字结构等信息,以生成特殊的文本表示信息;其次,使用两个独立的GRU层对生成的文本表示信息进行实体头部和尾部预测,进一步加强实体的边界信息,并采用异构图神经网络进行选代更新。结果表明:在嵌套CMeEE-V2数据集上,BCBE-NNER模型的 F1 值由原来的 72.11% 提高为 74.12% ,提升了 2.01% ;在平面WeiboNER数据集上,BCBE-NNER模型的 F1 值由原来的 72.77% 提高为 75.10% ,提升了 2.33% 。
摘要:针对油藏开发过程中,传统储量预测方法精度低、复杂度高,以及人工分析信息滞后导致不能及时发现潜力井等问题,提出一种智能化油藏动态分析方法,实现油藏开发问题的实时精确处理。在油田生产过程采集的20个参数中,利用皮尔逊相关系数最终选用当前年产油量、含水、体积液量、累产油量、排量、冲次和泵效共7个参数表征油田生产能力。然后基于回归的支持向量机模型,利用不同核函数下的SVR模型对油田月产油量进行预测,最终选定超参数 d=2,C=54 的二阶多项式核函数下的SVR模型作为最优的油田月产量预测模型,该模型预测结果的平均绝对误差为-0.0061,均方误差为-0.1028。实验结果表明,智能化油藏动态分析方法在勘探数据分析的基础上,能够准确地动态预测油藏,优化勘探规划结构并提高油藏发现效率。
摘要:针对风机叶片早期出现的浅色、细小裂纹难以识别问题,提出一种融合条形卷积和Transformer的风机叶片裂纹检测方法。首先基于不同方向条形卷积构建多方向裂纹特征增强模块,在不同尺度下增强网络对裂纹特征的提取能力;其次,在Transformer中引入非线性无激活网络,以降低Transformer在利用高分辨率图像进行检测任务时的计算复杂度;最后结合Transformer与条形卷积的优势,构建一种四级对称编码-解码器网络,完成叶片裂纹缺陷检测任务。测试结果表明,该方法在自制数据集上的 值和mIoU值分别达到 86.87% 和 79.54% ,且网络的训练速率达到13.24幅/s,说明风机叶片裂纹检测方法在检测性能与检测速率上均具有良好的效果。
摘要:人群计数作为一项关键技术,在公共安全、城市规划以及交通管理等多个领域发挥着至关重要的作用。全监督计数方法要求对行人进行精确的点对点标注,这不仅耗费大量的人力资源,而且需要昂贵的物质资源。相比之下,弱监督学习方法仅需要计数级别的注释,有效地解决了这一问题。然而,现有弱监督人群计数往往忽略了人群图像内部的密度分布问题,无法达到与全监督人群计数方法相似的计数性能。为了解决该问题,提出一种基于HGNN和多尺度特征融合的弱监督人群计数方法。利用超图挖掘人群区域内在的关联关系,并设计了一个低分辨率的多尺度特征融合模块来聚合多尺度的行人特征。在4个著名的基准人群计数数据集上进行了实验,结果表明,与现有的弱监督方法相比,所提方法的MAE提高了 2.2% ,RMSE值仅与当下最优方法相差3.9。此外,在昆明5号地铁线的站台视频进行了实际测试,验证了该方法能够实现高准确度的人群数量估计。
摘要:针对传统图书推荐系统所得到的计算结果滞后于实时需求且准确性较低的缺陷,文中基于用户画像数据,提出一种快速图书检索算法。该算法在用户画像构建部分对静态属性抽取和动态标签行为进行建模。在图书特征提取模型中,使用BERT-Word2Vec作为基础框架进行多模态特征提取,并利用双塔深度匹配模型构建了用户MLP塔和图书改进CNN塔,对特征进行充分细致的多维分析。模型通过将实时反馈机制Kafka-Redis流处理算法与会话注意力加权融合,最终实现了场景化的推荐。实验测试结果显示, NDCG@10 指标较最优基准提升了约 21.0% ,行为反馈延迟在峰值500QPS流量下小于等于 3.5s 。表明所提算法能够为知识服务场景提供兼具准确性、时效性与场景适应性的信息推荐解决方案。
摘要:传统的规划算法在无人车路径规划方面存在效率低、不适用于动态环境、计算量大等缺点。针对上述问题,提出一种改进 A* 算法与动态窗口法(DWA)相结合的无人车动态路径规划方法。首先,在DWA算法中添加碰撞风险函数评价得分,提高评价算法得分;其次,将 A* 算法提取的关键点作为DWA算法的暂时目标点,使搜索方向减少为5个;最后,将 A* 算法的路径关键点作为DWA算法的临时终点,实现两种算法的融合。仿真结果表明:与传统人工势场法、快速搜索随机树(RRT)、迪杰斯特拉(Dijkstra)算法相比,新的融合算法时间减少了 11.71s ,同比降低了 6.91% ;路径长度减少 3.093m ,同比减少了 4.16% ;平均线速度增加了 2.96% 。所提算法在保证路径较为平滑的同时,能够使路径更加合理高效。
摘要:相较于传统单机器人,多机器人系统在效率、容错性能、鲁棒性等方面有着显著优势,但其也存在硬件成本高、占地面积大等缺点,这些都限制了与多机器人相关的实验课程开展。针对以上问题,提出一种基于虚拟样机技术的多机器人协同控制实验平台设计方案。该实验平台由虚拟样机仿真子系统、上位机控制子系统、机器人本体三部分组成,其中虚拟样机仿真子系统负责完成环境建模、动力学仿真、传感数据采集等任务,上位机控制子系统通过网络接口与虚拟样机仿真子系统联动,以实现多机器人的协同控制。实践结果表明,该实验平台具有部署成本低、操作简单、可扩展性强的优点,能够有效提高学生的工程应用能力和创新意识。
摘要:为消除光照度变化对图像的影响,提供更为全面和清晰的面部信息,并提高表情识别鲁棒性,提出一种可变光照下多姿态人脸表情识别方法。利用自商图像法对原始人脸图像进行光照处理,消除光照度变化对图像的影响。利用生成对抗网络建立多姿态人脸正面化模型,对光照处理后的人脸图像进行再处理,得到标准正面姿态的人脸图像,为表情识别提供更为全面和清晰的面部信息,提高表情识别鲁棒性。利用局部二值卷积神经网络处理标准正面姿态的人脸图像,完成可变光照下多姿态人脸表情识别。实验结果表明:所提方法可有效地对人脸图像进行光照与人脸正面化处理,不同姿态情况下,该方法均可完成人脸表情的精准识别;在不同光照条件下,人脸表情识别的精度均较高。
摘要:井漏预测一直是钻井中堵漏防治研究的热点和难点课题,传统方法依赖专家经验,技术可复制性差,在特征参数选择上缺乏与井漏的相关性分析,导致预测精度低,且模型存在一定的局限性。为此,提出一种基于M5模型树的改进随机森林(IRF)算法,并采用基于Sobol序列的初始化策略,引入自适应螺旋变化策略更新发现者位置,同时利用Levy飞行策略来更新跟随者位置的改进麻雀搜索算法(ISSA)对IRF参数进行优化,进而建立一种ISSA-IRF井漏预测模型。该模型整合了来自地质、钻井泥浆和钻井作业相关的18个参数,利用Pearson相关性分析、递归特征消除和梯度提升树确定了11个关键参数。实验结果表明,与原模型相比,ISSA-IRF模型在井漏预测上的准确率提升了 7.7% ,且模型的性能显著优于经典的井漏预测模型(如LSTM、BP和SVM等)。改进后的模型可用于现场堵漏控制,为防漏堵漏作业提供科学指导。
摘要:小目标检测在自动驾驶、医学诊断、工业质检等领域的应用需求日益凸显。针对现有小目标检测算法存在的误检、漏检以及检测精度低等问题,提出一种基于改进YOLOv8的小目标检测算法,即PGA-YOLOv8。该算法以YOLOv8为基础模型,结合注意力机制来提高对小目标的定位能力;在特征融合网络中改进特征融合策略(ASFF),增加1个检测层来学习浅层的特征,以更好地利用各层次特征信息;将YOLOv8模型中部分普通卷积替换为分组重组卷积(GSConv)以优化网络结构。最后,在常用基准数据集(VOC2012)和航空图像数据集(AI-TOD)上,以YOLOv8为基准模型设置多组实验,验证改进的各种技术的有效性以及PGA-YOLOv8算法的检测能力。实验结果表明,相较于YOLOv8算法,所提算法在两个数据集中平均精度均值(mAP)分别提高了 2.576% 和 6.389% ○
摘要:针对真实列车场景中,螺栓松动检测易受螺栓种类多样、拍摄环境复杂等影响的问题,提出一种基于关键点的列车螺栓松动状态检测算法。将深度学习中的关键点检测技术与拓扑学相结合,利用孪生网络判断前后历史螺栓的几何六边形信息差,从而判断螺栓松动。首先利用 YOLOv9 识别并定位螺栓,构建螺栓关键点数据集和螺栓松动分类数据集;其次,为增强检测模型对畸变、倾斜等异常螺栓图像的自动矫正能力,并解决特征图在深层网络传递中的信息丢失问题,对ResNet-18模型进行改进,集成了空间变换网络(STN)模块;最后,将检测得到的螺栓角点拓扑为一个连通六边形结构,并将前后信息输入至孪生网络进行松动分类。测试结果表明,利用改进后的ResNet-18模型判断螺栓松动状态的精确率为99.3% ,召回率为 99.6% ,较原模型有显著提升。所提算法能够有效判断螺栓的松动状态,可为螺栓松动故障诊断提供新的解决方案和技术参考。